本報記者 肖偉
農家小炒肉是湖南特色家常菜,以麻辣鮮香,口味滑嫩著稱,是湖南人民群眾餐桌上的常見菜肴,制作原料主要是青椒(或者紅椒)和豬肉。今年3月,《證券日報》曾報道豬肉辣椒價格猛漲,行業人士認定漲價不可持續,即將出現回落走勢。
目前,豬肉價格跌破散養戶養殖成本,辣椒價格回落至常年平均水平,農家小炒肉的原料供應保障無須憂心。行業人士認為,豬肉價格未來看跌趨勢明顯,辣椒價格亦將一路走跌。亦有觀點認為,豬肉辣椒等基本消費品整體行情下降,有利于消費者在固定預算中消費更多水產及海產等白肉制品,實現“白肉替代紅肉”的消費升級。
豬肉價格接連下降后市趨淡
近日,湖南省商務廳發布2021年第20周湖南省生活必需品市場價格,豬牛羊三類紅肉零售價格均不同程度下降。鮮豬肉零售均價34.98元/公斤,下降4.27%,較“五一”假期37.61元/公斤再降2.63元,較最高的2020年52.05元/公斤低了17.07元,環比幅度為十年來同期降幅最大;豬精瘦肉零售均價42.27元/公斤,下降2.4%,較2020年同期56.98元/公斤下降了14.71元。鮮牛肉零售均價95.6元/公斤,下降0.19%。鮮羊肉零售均價82.96元/公斤,微降0.08%。
生豬期貨價格與豬肉現貨一同下跌,東方財富CHOICE數據終端顯示,生豬期貨自掛牌交易以來,主力合約已從最高點30277元/噸下跌至23459元/噸,跌幅達到22.51%。當前,生豬期貨對應生豬現貨還存在每噸約5元到10元的升水,意味著場內資金看淡后市,豬價仍有下行空間。
財信期貨總經理沈眾輝向《證券日報》記者分析上述情況:“經我們走訪調研了解,湖南省豬肉市場供應充足,需求平穩,不僅零售均價跌幅擴大,生豬期貨跌幅也在加大。自2020年下半年開始,各路資金集中進入生豬養殖市場,加大了當前生豬供應量,較好的填補了國內豬肉需求缺口。由于飼料價格上漲,豬價無望上行,養殖戶為了止損加大生豬出欄力度,疊加夏季紅肉消費淡季等因素,導致豬價‘跌跌不休'。我們認為,未來較長一段時間內,以豬肉為代表的紅肉價格會在下降通道內運行。”
生豬現貨及期貨價格下跌對養豬上市企業的市值構成不利影響,已有正邦科技、天邦股份等上市公司啟動股份回購計劃以穩定股價。對此,沈眾輝認為:“主動護盤的意義不大,行業基本面決定了資本市場對養豬企業的后市預期是偏向空頭的。”
新貨上市辣椒價格跳水下跌
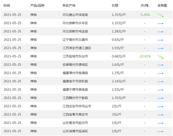
在豬肉價格下跌的同時,辣椒價格也迎來了一輪快速跳水。惠農網大數據顯示,5月25日,河北、遼寧、江蘇、安徽、福建、江西、山東等多地的辣椒現貨價格已經跌至1元/斤至2元/斤的區間內。其中,江蘇鹽城的辣椒現貨受新貨上市影響,一度大跌22.41%,批發價格跌到0.68元/斤。

惠農網大數據顯示辣椒價格已經回歸常年平均水平(供圖:惠農網)
惠農網分析師李彬彬向《證券日報》記者表示:“夏季來臨,辣椒鮮貨上市,價格回歸常年平均水平實屬必然。惠農網大數據平臺顯示,不僅辣椒價格回歸常態,大白菜、圓白菜、冬瓜、豆芽、土豆、南瓜、胡蘿卜、萵筍、黃瓜、洋蔥、油菜、西紅柿、生菜等日常蔬菜的價格也都有明顯回落。隨著后期降雨天氣持續影響,蔬菜生長速度放緩,預計可能導致個別蔬菜品種的價格出現較為明顯上漲,蔬菜批發整體均價將維持‘小幅反彈、中期看跌’的趨勢。”
《證券日報》記者走訪長沙市周南中學附近菜店,店長向記者表示:“年前,豬肉、辣椒等物品漲價,消費者明顯有抱怨,我們門店的走貨量也不太好。最近2個月,豬肉、辣椒都在持續降價,我們聽到的抱怨也明顯少了。作為社區門店,我們當然希望這些基本物資的價格都能降下來,這樣走量要快得多。夏季來臨,蔬菜肉類都不耐儲藏,快走量,勤補貨,常上新才能保障門店能持續盈利。”
UCN海產資訊主編胡路怡也向《證券日報》記者表示:“從消費端來看,豬肉、辣椒這些基本盤面上的消費品跌價是利好消息。短期內,消費者的預算是剛性的,如果豬肉、辣椒所占預算減少,意味著水產品、海產品方面的消費支出有望增加,進而推動國內‘白肉替代紅肉’的消費升級。目前,我們已經觀察到全球海產行業產生了一些積極信號,中國消費升級浪潮有望再度成為全球消費復蘇的引擎。4月份,厄瓜多爾白蝦出口表現強勁,對中國銷量恢復至疫情前水平,單月銷量達到3.7萬噸。5月份,新海線執行董事Eduardo-Goycoolea報告來自中國的三文魚訂單增加,智利冷庫正在加緊對中國發貨。”
(編輯 崔漫 白寶玉)
戶用光伏補貼達5億超預期, 產業鏈價格上漲 恐打擊下游積極性2021-05-22 04:44
造紙原材料價格高位盤旋近三個月 有定價權紙企將迎業績爆發期2021-05-21 20:48
| 14:21 | 中科創星創始合伙人米磊:硬科技領... |
| 14:20 | 2025中國國際海事會展召開 巨力索... |
| 14:20 | 利好密集!這一概念持續走強 個股... |
| 14:20 | 這一賽道集體爆發!多家公司漲停 |
| 14:16 | 中誠信2026年信用風險展望年會在上... |
| 13:09 | 神州控股子公司科捷與普渡達成戰略... |
| 13:05 | 佛塑科技擬收購金力股份 后者前10... |
| 12:47 | 全球人形機器人產業應用加速落地 |
| 12:44 | 日發精機:盤活低效資產 回籠資金... |
| 11:41 | 遠東股份:11月份千萬元以上合同訂... |
| 11:40 | 國產可重復使用運載火箭成功發射入... |
| 11:39 | 汽車之家榮膺“最具投資價值中概股... |
版權所有證券日報網
互聯網新聞信息服務許可證 10120180014增值電信業務經營許可證B2-20181903
京公網安備 11010202007567號京ICP備17054264號
證券日報網所載文章、數據僅供參考,使用前務請仔細閱讀法律申明,風險自負。
證券日報社電話:010-83251700網站電話:010-83251800 網站傳真:010-83251801電子郵件:xmtzx@zqrb.net
掃一掃,即可下載
掃一掃,加關注
掃一掃,加關注