本報記者 劉琪
2月22日,國家發展改革委官微發布消息稱,為維護人民幣法定貨幣地位和流通秩序,切實保障公眾使用現金的權益,提高全社會對維護人民幣現金使用的思想自覺和行為自覺,根據《中華人民共和國中國人民銀行法》等有關法律法規要求,按照《國務院辦公廳印發關于切實解決老年人智能技術困難實施方案的通知》有關精神,近期,國家發展改革委和人民銀行在“信用中國”網站對2021年4季度因拒收現金受到行政處罰的主體進行了專項公示。
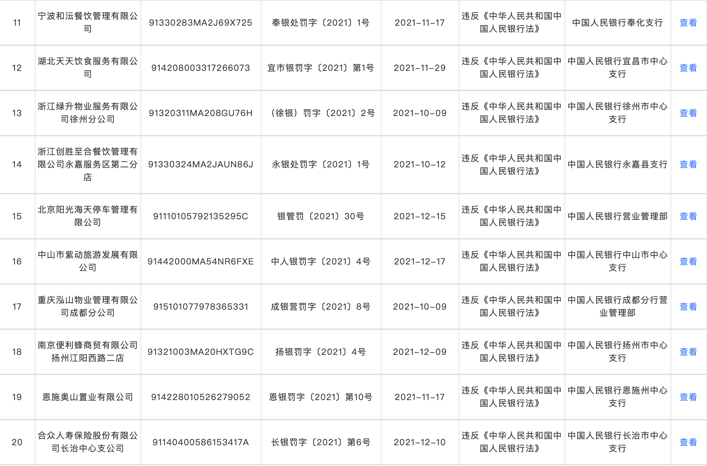
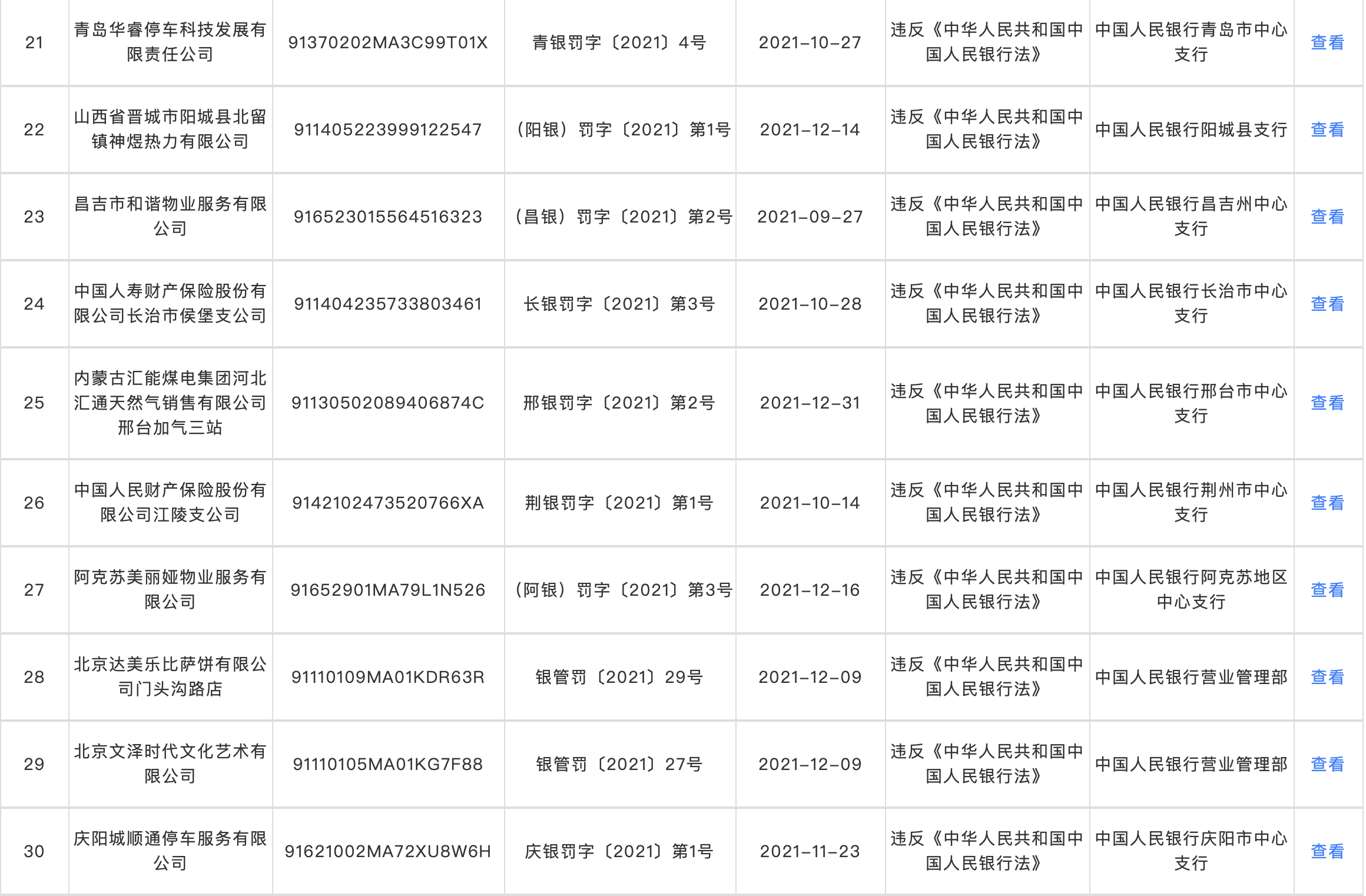
本次公示的受到行政處罰主體共32個,作出行政處罰決定的時間范圍主要為2021年10月至2021年12月底,處罰金額從1000元至10萬元不等,被處罰的單位包括物業管理公司、保險公司和餐飲公司等。




圖片來源:信用中國網站
據《證券日報》記者梳理,去年一季度,人民銀行依法對8家拒收現金的單位及相關責任人作出經濟處罰,處罰金額從500元至5萬元人民幣不等。被處罰的單位包括公共服務機構、停車場、游樂場、保險公司及房地產公司等;二季度,人民銀行依法對18家拒收現金的單位及相關責任人作出經濟處罰,處罰金額從1000元至10萬元人民幣不等。被處罰的單位包括公共服務機構、醫院、景區、停車場及保險公司等;三季度,人民銀行依法對13家拒收現金的單位及相關責任人作出經濟處罰,處罰金額從1000元至50萬元人民幣不等。被處罰的單位包括交通、水電等公共服務機構以及大型商超、景區、停車場、保險公司等。
也就是說,去年全年共有71家拒收現金的單位及相關責任人受到經濟處罰。
國家發展改革委官微表示,下一步,兩部門將繼續做好規范和便利人民幣現金收付相關工作,切實保障公眾合理、安全、順暢使用現金的合法權益。廣大市場經營主體應強化法治觀念,維護人民幣法定地位,杜絕拒收人民幣現金行為。歡迎社會公眾予以監督、依法維權,共同營造和諧便利的現金流通環境。
值得一提的是,2月21日,人民銀行、銀保監會聯合召開銀行業金融機構人民幣現金服務工作座談會。會議認為,人民幣現金是國家法定貨幣,現金服務是最基礎、最根本的金融服務,現金投放收儲是銀行業金融機構最基本的業務,在滿足人民群眾生產生活需要、服務實體經濟、維護貨幣金融體系穩定等方面發揮著重要作用。
會議指出,當前人民幣現金服務總體情況是好的,但也存在一些值得關注的問題。社會上拒收現金現象仍有發生,個別銀行機構辦理現金業務意愿有所下降甚至出現停辦現金業務的情形,流通中人民幣整潔度、小面額人民幣服務等仍有較大提升空間。對這些新情況、新問題、新苗頭要高度重視,嚴肅對待,妥善解決。
會議要求,銀行業金融機構要切實提高政治站位,從思想上樹牢人民意識、宗旨意識、服務意識,始終堅持以人民為中心的發展思想,緊貼人民群眾在金融服務方面的需求,統籌經濟利益和社會責任,充分認識做好人民幣現金服務的重要性,不斷提升現金服務能力和水平。扎實做好人民幣現金存取業務,凡設有實體網點的商業銀行、農信社等機構必須辦理人民幣現金存取業務。不斷強化現金服務合規管理,持續提升流通中的現金整潔度,扎實推進小面額人民幣兌換工作,共同建設整治拒收人民幣現金長效機制,推動人民幣現金服務再上新臺階。
(編輯 才山丹)
養老服務體系市場定位進一步明確 專家認為保險公司大有可為2022-02-22 10:21
央行、銀保監會:凡設有實體網點的商業銀行等機構必須辦理人民幣...2022-02-22 00:46
數據中心一躍成為A股熱詞 業內稱真正落地還要看公司實力2022-02-21 20:50
央行等三部門:《金融機構客戶盡職調查和客戶身份資料及交易記錄...2022-02-21 20:35
央行、銀保監會:凡設有實體網點的商業銀行等機構必須辦理人民幣...2022-02-21 20:34
| 19:27 | 通達動力:GE是公司的重要客戶之一 |
| 19:27 | 逸豪新材:截至2025年11月28日公司... |
| 19:27 | 通達動力:公司在手訂單較為充足 |
| 19:27 | 通達動力:公司與包括比亞迪在內的... |
| 19:27 | 會稽山:公司持續專注黃酒主業的發... |
| 19:27 | 拉芳家化:截至2025年9月30日股東... |
| 19:27 | 江蘇國信:公司已關注并探索電力與... |
| 19:27 | 豪威集團:公司是全球主要的圖像傳... |
| 19:27 | 中青旅:青旅集團及光大集團正在按... |
| 19:27 | 城發環境:截至11月30日公司股東人... |
| 19:27 | 中新集團:截至11月28日公司股東人... |
| 19:27 | 四川長虹:公司生產經營正常 |
版權所有證券日報網
互聯網新聞信息服務許可證 10120180014增值電信業務經營許可證B2-20181903
京公網安備 11010202007567號京ICP備17054264號
證券日報網所載文章、數據僅供參考,使用前務請仔細閱讀法律申明,風險自負。
證券日報社電話:010-83251700網站電話:010-83251800 網站傳真:010-83251801電子郵件:xmtzx@zqrb.net
掃一掃,即可下載
掃一掃,加關注
掃一掃,加關注